Product Summary
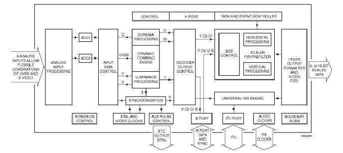
The SAA7115HL/V1 is a video capture device for applications ranging from small screen products such as digital set-top boxes and personal video recording applications to large screen devices like LCD projectors that benefit from its improved comb filter performance and 10-bit video output capabilities. The SAA7115HL/V1 combines a two channel analog pre-processing circuit and a high performance scaler. The SAA7115HL/V1 accepts CVBS or S-Video (Y-C) analog inputs from TV or VCR sources, including weak and distorted signals.
Parametrics
SAA7115HL absolute maximum ratings: (1)supply voltage digital:-0.5V to +4.6V; (2)supply voltage analog:-0.5V to +4.6V; (3)input voltage at analog inputs:-0.5V to VDDA+0.5V; (4)output voltage at digital inputs:-0.5V to +5.5V; (5)output voltage at digital outputs:-0.5V to VDDx+0.5V; (6)storage temperature:-65 to +150℃; (7)operating ambient temperature range:0 to +70℃.
Features
SAA7115HL features: (1)Six analog inputs, internal analog source selectors (e.g.: 6 x CVBS or (2 x YC and 2 CVBS) or (1 x YC and 4xCVBS)) ; (2)Two built in analog anti-alias filters ; (3)Two improved 9-bit CMOS analog-to-digital converters ; (4)Fully programmable static gain or automatic gain control (AGC) for the selected CVBS or Y/C channel ; (5)Automatic Clamp Control (ACC) for CVBS, Y and C ; (6)Switchable white peak control ; (7)Requires only one crystal (32.11 MHz or 24.576 MHz) for all standards ; (8)Independent gain and offset - adjustment for raw data path; (9)Horizontal and vertical down-scaling and up-scaling to randomly sized ; (10)windows ; (11)Horizontal and vertical scaling range: variable zoom to 1/64(icon) ; (12)Vertical scaling with linear phase interpolation and accumulating filter for anti-aliasing (6-bit phase accuracy) ; (13)Conversion to square pixel format ; (14)Generation of a video output stream with improved synchronisation grid at the I-Port ; (15)Two independent programming sets for scaler part ; (16)Fieldwise switching between decoder and expansion port (X-port) input ; (17)Brightness, contrast and saturation controls for scaled outputs.
Diagrams

| Image | Part No | Mfg | Description | ![]() |
Pricing (USD) |
Quantity | ||||
|---|---|---|---|---|---|---|---|---|---|---|
![]() |
![]() SAA7115HL/V1,518 |
![]() NXP Semiconductors |
![]() Video ICs ADV DIG VID DECODER |
![]() Data Sheet |
![]() Negotiable |
|
||||
![]() |
![]() SAA7115HL/V1,557 |
![]() NXP Semiconductors |
![]() Video ICs ADV DGTL VIDEO |
![]() Data Sheet |
![]() Negotiable |
|
||||
![]() |
![]() SAA7115HLBE |
![]() NXP Semiconductors |
![]() Video ICs ADV DGTL VIDEO DECODR |
![]() Data Sheet |
![]() Negotiable |
|
||||
(China (Mainland))









